
行業資訊
復合管中伴熱帶的銜接安裝簡圖
1.電源線
2. 接線盒的壓蓋
3. 密封膠圈
4. 固定螺釘
5. 接線盒的頂蓋
6. 密封壓片
7. 接線盒本體
8. 伴熱帶
9. 伴熱帶屏蔽網接地線
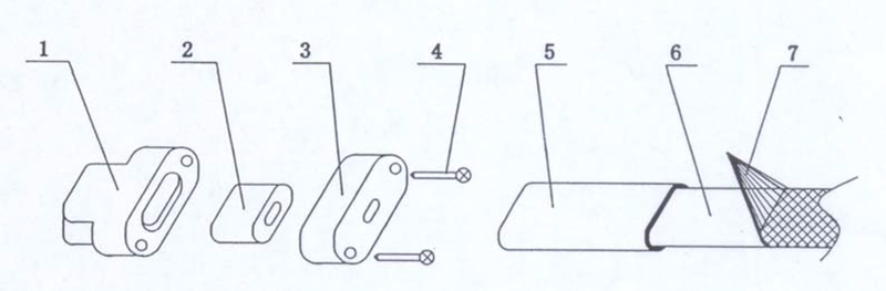
1.終端本體
2. 密封膠圈
3. 終端壓蓋
4. 固定螺釘
5. 熱縮性套管(耐溫 125°)
6. 伴熱帶
7. 伴熱帶屏蔽網接地線
煙氣采樣復合管電氣指標以及復合管安裝指標
1、電氣指標:
①額定電壓 220VAC,根據不同的伴熱電纜,伴熱溫度可在 60℃-160℃范圍;
②自限溫伴熱帶和恒功率伴熱帶一端接電源 220VAC,另一端伴熱帶二根芯線嚴禁短路,采用終端封閉,加用 703 粘合劑。
2、復合管安裝指標:
①復合管的最小曲率半徑 0.5m
②自限溫伴熱帶最大連續使用長度 80m(如大于該長度,請與本公司技術部聯系),恒功率伴熱帶最大連續使用長度 140m
③最低安裝環境溫度-30℃(如低于該溫度,請與本公司技術部聯系)
④最小支撐點距離:垂直方向 2m,水平方向 2m;
⑤復合管安裝應防止重物墜落砸傷、碰損;
⑥復合管應避開與動力電纜敷設在一起。
帶漏保斷路器與復合管的使用長度(自限溫伴熱帶)
|
使用長度 |
帶漏保斷路器 |
限流器 |
電源線截面 |
|
10 米 |
16A |
|
2.5mm2 |
|
10-20 米 |
16A |
使用 |
2.5 mm2 |
|
20-30 米 |
20 A |
使用 |
4 mm2 |
|
30-40 米 |
25A |
使用 |
4 mm2 |
|
40-50 米 |
25 A |
使用 |
4 mm2 |
|
50-60 米 |
32 A |
使用 |
6 mm2 |
|
60-70 米 |
32 A |
使用 |
6 mm2 |
|
70-80 米 |
40 A |
使用 |
6 mm2 |
|
使用長度 80 米以上請跟公司技術部聯系 |
|||
注:恒功率伴熱帶采樣復合管的使用長度按伴熱帶的額定功率計算進行匹配斷 路器和電源線,不需要配置限流器。
- 上一個:冬季管道防凍注意事項
- 下一個:煙氣伴熱管線配件的安裝技術要求